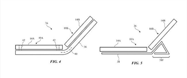
[PConline 资讯] 据外媒Apple Insider报导,苹果申请了多电子设备体系专利。依据专利描绘,苹果是计划将两块彻底独立的屏幕衔接一同作为一个显现器运用。网友热议:似曾相识?
苹果是不想制造出会曲折屏幕的可折叠iPhone?并可以让两种或两种以上的设备在严密触摸的情况下协同作业。苹果在文件中称,电子设备可以正常的运用传感器丈量和其他信息来检测榜首设备的边际何时与第二电子设备的边际相邻。可从独立操作形式转换到联合操作形式,以完成资源同享。
在联合操作形式下,图画可跨屏显现,两设备中的扬声器可用于播映音乐的不同声道,它们的相机和传感器也可互相协作运用,当然还包含同享其他资源。
我们看到模拟图就知道为啥会吐槽了,微软刚在去年底就发布了Surface Duo双屏手机,外观设计和这个相似,并且预备本年圣诞节就上市。
笔者期望苹果最多是考虑多设备的衔接性吧,究竟中心那个转轴看着就不爽……

Arm 年度技术大会:展现全面的计算子系统、从云到端的软件开发赋能、紧
进博会对话高通钱堃,从5G手机到汽车,支持中国伙伴全球拓展
从5G到5G+AI,从展品到商品,高通连续七年参加进博会
2024爱企查毕业季校园行:构建诚信就业市场,为成电、广大学子保驾护航
淘宝百亿补贴618期间上线惊喜闪购,梦里啥都有真香!
蔡怀军分享芒果文化与科技融合的前瞻思考
全国人大代表刘宏志:推动数字乡村建设、激发乡村振兴“数智力量”
“千翼飞舞天际 5G闪耀广州”2023数字科技生态大会 11月10日中国·广州